Noticias
Microsoft quiere que controles el ordenador con hologramas
Se dice que en el teclado del ordenador hay más bacterias que en el cuarto de baño. El contacto continuado y su dificultad para limpiarlo hace que sea una cuna de gérmenes ¿Pero cómo controlar el ordenador si no es con un teclado?
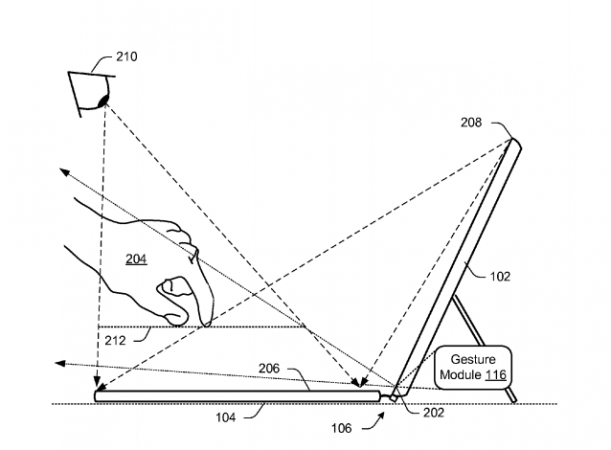
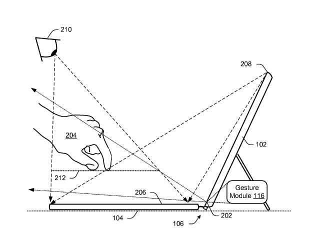
La nueva patente de Microsoft va más allá del teclado, se trata de un nuevo puerto de entrada para el ordenador y tiene que ver con los hologramas. Esta patente describe una guía de gestos para utilizar hologramas flotantes en un dispositivo informático.
En términos generales la patente trata sobre un nuevo dispositivo de entrada el cual podría ser una delgada lámina que se colocaría sobre el teclado. De esta forma podremos «tocar» los hologramas que proyectaría un dispositivo emisor en dicha lámina.
Básicamente podemos pensar que se trataría de un proyector que vendría incorporado en la parte superior de la pantalla y que proyectaría imágenes sobre una superficie que reconocería nuestros gestos.
No es la primera vez que vemos algo parecido, hace poco HP presentó Sprout, un equipo todo en uno, donde destaca su cámara con escáner en 3D, así como su pantalla y plantilla táctil.
Gracias a su plataforma táctil, la que se coloca sobre una mesa, por ejemplo, y a su cámara 3D podemos escanear cualquier tipo de objetos e integrarlos en nuestros diseños para después manipularlos y adaptarlos a nuestra obra sin problemas.
-
A FondoHace 5 díasPíldora roja o píldora azul
-
NoticiasHace 15 horasQNAP estrena la segunda beta abierta de QuTS hero h6.0
-
NoticiasHace 7 díasASUS presenta el portátil para empresas, ExpertBook B3 G2
-
NoticiasHace 5 díasNextcloud Hub 26 Winter: más facilidades para migración y mejoras en rendimiento y colaboración




